Атол 30Ф не включается (заводской брак)
Блок питания (БП, зарядка) 100V-240V (C5) UK, EUR шнур (200dpi) (Input 100-240Vac, 2A, 50-60Hz, DC Output 20V, 3A, 60W MAX) для принтера Zebra TLP 2824 Plus
Запчасть на сборочном чертеже под номером: не указана
Количество запчастей в комплекте: 1
Название запчасти Zebra на английском языке: Power Supply, 100V-240V (C5) with UK, EUR Cords (200dpi)
Блок питания (БП, зарядка) 100V-240V (C5) UK, EUR шнур (200dpi) для принтера Zebra TLP 2824 Plus (Input 100-240Vac, 2A, 50-60Hz, DC Output 20V, 3A, 60W MAX) (аналог)
Запчасть на сборочном чертеже под номером: не указана
Количество запчастей в комплекте: 1
Название запчасти Zebra на английском языке: Power Supply, 100V-240V (C5) with UK, EUR Cords (200dpi)
Каталожный номер: 105950-076, P1028888-001
Материнская плата (USB, Ethernet и XMEM порты) для принтера Zebra TLP 2824 Plus
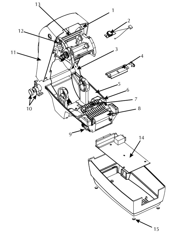
Запчасть на сборочном чертеже под номером: 14
Количество запчастей в комплекте: 1
Название запчасти Zebra на английском языке: Main Control PCBA, USB/Ethernet/XMEM
Материнская плата (последовательный и USB порты) для принтера Zebra TLP 2824 Plus
Запчасть на сборочном чертеже под номером: 14
Количество запчастей в комплекте: 1
Название запчасти Zebra на английском языке: Main Control PCBA, std. Ser./USB
Печатающая термоголовка Zebra Printhead TLP 2824 Plus. Термопечатающая головка для настольного этикеточного принтера Zebra TLP 2824 Plus. Разрешающая способность термоголовки - 203 dpi. Ширина печати (максимальная) - 56 мм. Максимальная скорость печати - до 102 мм/сек. Тип печати: термотрансферная.
Запчасть на сборочном чертеже под номером: 4
Количество запчастей в комплекте: 1
Название запчасти Zebra на английском языке: Printhead Assy., (203 dpi)
Датчик черной метки Zebra TLP 2824 Plus
Запчасть на сборочном чертеже под номером: 7
Количество запчастей в комплекте: 1
Название запчасти Zebra на английском языке: Gap/Blackline Sensor PCBA
Аккумуятор часов реального времени для принтера Zebra TLP 2824 Plus
Запчасть на сборочном чертеже под номером: 14
Количество запчастей в комплекте: 1
Название запчасти Zebra на английском языке: Real Time Clock Battery
Вал риббона 2" для принтера Zebra TLP 2824 Plus
Запчасть на сборочном чертеже под номером: не указана
Количество запчастей в комплекте: 50
Название запчасти Zebra на английском языке: Ribbon Core, 2" thermal transfer
Верхняя крышка в сборе для принтера Zebra TLP 2824 Plus
Запчасть на сборочном чертеже под номером: 11
Количество запчастей в комплекте: 1
Название запчасти Zebra на английском языке: Upper Cover Assy.
Двигатель в сборе для принтера Zebra TLP 2824 Plus
Запчасть на сборочном чертеже под номером: 9
Количество запчастей в комплекте: 2
Название запчасти Zebra на английском языке: Motor, Assy.
Диск с программным обеспечением и документацией для принтера Zebra TLP 2824 Plus
Запчасть на сборочном чертеже под номером: не указана
Количество запчастей в комплекте: 1
Название запчасти Zebra на английском языке: CD-ROM, EPL Desktop Printers Software & Documentation
Диск с сервисной документацией для принтера Zebra TLP 2824 Plus
Запчасть на сборочном чертеже под номером: не указана
Количество запчастей в комплекте: 1
Название запчасти Zebra на английском языке: CD-ROM, Service Documentation
Отделитель для принтера Zebra TLP 2824 Plus
Запчасть на сборочном чертеже под номером: не указана
Количество запчастей в комплекте: 1
Название запчасти Zebra на английском языке: Dispenser Option
Защелка для принтера Zebra TLP 2824 Plus
Запчасть на сборочном чертеже под номером: 1
Количество запчастей в комплекте: 1
Название запчасти Zebra на английском языке: Latch Assy
Источник питания, 100V-240V (C5) US, EUR шнур (200dpi) для принтера Zebra TLP 2824 Plus
Запчасть на сборочном чертеже под номером: не указана
Количество запчастей в комплекте: 1
Название запчасти Zebra на английском языке: Power Supply, 100V-240V (C5) with US, EUR Cords (200dpi)
Кабель интерфейсный RS-232 для принтера Zebra TLP2824 Plus
Кабель питания Euro 220V, IEC320C5 для принтера Zebra TLP 2824 Plus
Запчасть на сборочном чертеже под номером: не указана
Количество запчастей в комплекте: 5
Название запчасти Zebra на английском языке: Power Cord, Euro 220V, IEC320C5
Кабель питания U.K. 240V, IEC320C5 для принтера Zebra TLP 2824 Plus
Запчасть на сборочном чертеже под номером: не указана
Количество запчастей в комплекте: 5
Название запчасти Zebra на английском языке: Power Cord, U.K. 240V, IEC320C5
Кабель питания U.S. 120V, IEC320C5 для принтера Zebra TLP 2824 Plus
Запчасть на сборочном чертеже под номером: не указана
Количество запчастей в комплекте: 5
Название запчасти Zebra на английском языке: Power Cord, U.S. 120V, IEC320C5
Каретка риббона без термоголовки для принтера Zebra TLP 2824 Plus
Запчасть на сборочном чертеже под номером: 13
Количество запчастей в комплекте: 1
Название запчасти Zebra на английском языке: Ribbon Carriage w/o Printhead
Материнская плата (USB и Ethernet порты) для принтера Zebra TLP 2824 Plus
Запчасть на сборочном чертеже под номером: 14
Количество запчастей в комплекте: 1
Название запчасти Zebra на английском языке: Main Control PCBA, Std. USB/Ethernet
Материнская плата (USB, Ethernet, отрезчика и XMEM порты) для принтера Zebra TLP 2824 Plus
Запчасть на сборочном чертеже под номером: 14
Количество запчастей в комплекте: 1
Название запчасти Zebra на английском языке: Main Control PCBA, USB/Ethernet/Cutter/XMEM
Материнская плата (параллельный и XMEM порты) для принтера Zebra TLP 2824 Plus
Запчасть на сборочном чертеже под номером: 14
Количество запчастей в комплекте: 1
Название запчасти Zebra на английском языке: Main Control PCBA, Par./XMEM
Материнская плата (параллельный порт) для принтера Zebra TLP 2824 Plus
Запчасть на сборочном чертеже под номером: 14
Количество запчастей в комплекте: 1
Название запчасти Zebra на английском языке: Main Control PCBA, Std. Par.
Материнская плата (параллельный, отрезчика и XMEM порты) для принтера Zebra TLP 2824 Plus
Запчасть на сборочном чертеже под номером: 14
Количество запчастей в комплекте: 1
Название запчасти Zebra на английском языке: Main Control PCBA, Par./Cutter/XMEM
Материнская плата (порты: USB, Ethernet и отрезчика) для принтера Zebra TLP 2824 Plus
Запчасть на сборочном чертеже под номером: 14
Количество запчастей в комплекте: 1
Название запчасти Zebra на английском языке: Main Control PCBA, USB/Ethernet/Cutter
Материнская плата (порты: параллельный, отрезчика) для принтера Zebra TLP 2824 Plus
Запчасть на сборочном чертеже под номером: 14
Количество запчастей в комплекте: 1
Название запчасти Zebra на английском языке: Main Control PCBA, Par./Cutter
Материнская плата (последовательный, USB и XMEM порты) для принтера Zebra TLP 2824 Plus
Запчасть на сборочном чертеже под номером: 14
Количество запчастей в комплекте: 1
Название запчасти Zebra на английском языке: Main Control PCBA, Ser./USB/XMEM
Материнская плата (последовательный, USB, отрезчика и XMEM порты) для принтера Zebra TLP 2824 Plus
Запчасть на сборочном чертеже под номером: 14
Количество запчастей в комплекте: 1
Название запчасти Zebra на английском языке: Main Control PCBA, Ser./USB/Cutter/XMEM
Материнская плата (последовательный, отрезчика и USB порты) для принтера Zebra TLP 2824 Plus
Запчасть на сборочном чертеже под номером: 14
Количество запчастей в комплекте: 1
Название запчасти Zebra на английском языке: Main Control PCBA, Ser./USB/Cutter
Товаров: 0
На сумму: 0

Компания Zipstore.ru является оптовым и розничным поставщиком запчастей для термопринтеров этикеток начального класса Zebra TLP 2824 Plus. Серия TLP 2824 Plus представлена компактными принтерами с термотрансферной и термопечатью. Высокая разрешающая способность способствует качественной печати текста, графических объектов и штрих-кодов на термоэтикетках и других термоносителях. Для печати могут быть использованы не только монохромные, но и цветные красящие ленты. Конструкционной особенностью серии TLP 2824 Plus является быстрый доступ к термоголовке, что позволяет даже неопытному пользователю быстро и легко производить замену расходных материалов. Главными отличиями серии TLP 2824 Plus от TLP 2824 являются два встроенных языка программирования ZPL и EPL, а также увеличенный объем стандартной встроенной памяти.
В нашем интернет-магазине представлены все ходовые запчасти для термопринтеров этикеток Zebra TLP 2824 Plus: термоголовки, датчики, двигатели, кабели, материнские платы, ролики и многое другое. Также Вы можете выбрать опции и аксессуары, расширяющие стандартную комплектацию принтера.
В каталоге сайта компании Zipstore представлены оригинальные запчасти и их аналоги для настольных термопринтеров этикеток Zebra TLP 2824 Plus. Помимо комплектующих Вы также можете приобрести разнообразные опции, чистящие наборы и аксессуары. Компания-производитель принтеров Zebra Technologies рекомендует использовать для повышения качества печати оригинальные расходные материалы. Найти нужную запчасть в каталоге можно при помощи поиска или по названию. Комплектующие также могу иметь каталожный номер, фотографию, краткое описание или перечень моделей принтеров, с которыми она совместима. Розничные цены на сайте указаны в рублях и долларах с НДС. Чтобы узнать оптовые цены на запчасти к термопринтерам начального класса Zebra TLP 2824 Plus, необходимо отправить запрос по электронной почте.
Для оформления заказа вы можете выбрать один из следующих способов:
Мы осуществляем поставку запчастей для принтеров этикеток начального класса Zebra TLP 2824 Plus во все города России, а также в Украину, Казахстан, Республику Беларусь и другие страны СНГ. Стоимость доставки из-за небольшого веса большинства комплектующих мало сказывается на конечной цене.
Покупки в нашем магазине осуществляются за наличный и безналичный расчет. Более подробную информацию о заказе, способах доставки и оплате Вы можете найти в разделе «Оплата и доставка». В разделе «%Скидки и акции» представлены наиболее интересные предложения по продаже запчастей, а также сезонные распродажи, акции и скидки.
Информацию технического характера по вопросам эксплуатации, обслуживания и ремонта настольных принтеров этикеток Zebra TLP 2824 Plus можно найти в разделе "Инструкции и ПО для термопринтеров Zebra". Проконсультироваться со специалистами и запросить более подробные технические характеристики и сертификаты Вы можете на форуме сайта.
Вы можете к нам обратиться для проведения ремонтных работ компактных принтеров этикеток Zebra TLP 2824 Plus. Мы также проводим профилактическое обслуживание и диагностику термопринтеров. Нашим преимуществом является возможность срочного ремонта в кратчайшие сроки благодаря наличию ходовых запчастей на складе.