Атол 30Ф не включается (заводской брак)
Датчик черной метки Zebra TLP 2824-Z
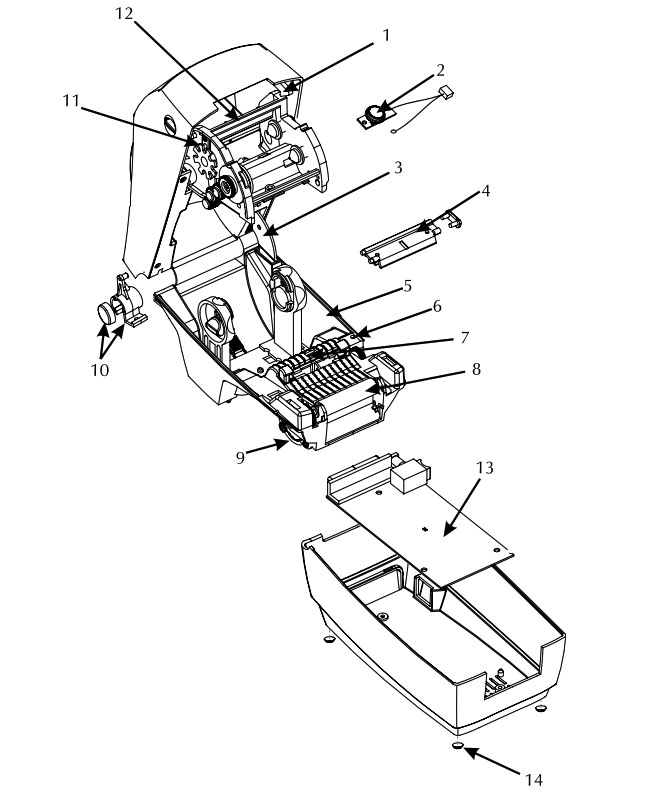
Запчасть на сборочном чертеже под номером: 7
Количество запчастей в комплекте: 3
Название запчасти Zebra на английском языке: Gap/Blackline Sensor PCBA
Маркировки на датчике: 403001G-001J, 403000G-004P
Блок питания (БП, зарядка) 100V-240V (C5) UK, EUR шнур (200dpi) Zebra TLP 2824-Z (Input 100-240Vac, 2A, 50-60Hz, DC Output 20V, 3A, 60W MAX)
Запчасть на сборочном чертеже под номером: не указана
Количество запчастей в комплекте: 1
Название запчасти Zebra на английском языке: Power Supply, 100V-240V (C5) with UK, EUR Cords (200dpi)
Блок питания (БП, зарядка) 100V-240V (C5) UK, EUR шнур (200dpi) Zebra TLP 2824-Z (Input 100-240Vac, 2A, 50-60Hz, DC Output 20V, 3A, 60W MAX) (аналог)
Запчасть на сборочном чертеже под номером: не указана
Количество запчастей в комплекте: 1
Название запчасти Zebra на английском языке: Power Supply, 100V-240V (C5) with UK, EUR Cords (200dpi)
Каталожный номер: 105950-076, P1028888-001
Печатающая термоголовка Zebra Printhead TLP 2824-Z. Термопечатающая головка для настольного этикеточного принтера Zebra TLP 2824-Z. Разрешающая способность термоголовки - 203 dpi. Ширина печати (максимальная) - 56 мм. Максимальная скорость печати - до 102 мм/сек. Тип печати: термотрансферная.
Запчасть на сборочном чертеже под номером: 4
Количество запчастей в комплекте: 1
Название запчасти Zebra на английском языке: Printhead Assy., (203 dpi)
Ethernet порт с кабелями для принтера Zebra TLP 2824-Z
Запчасть на сборочном чертеже под номером: 13
Количество запчастей в комплекте: 1
Название запчасти Zebra на английском языке: Kit, Ethernet IO PCBA with cables
Каталожный номер: G105910-121, 105910-121
Вал риббона 2" для принтера Zebra TLP 2824-Z
Запчасть на сборочном чертеже под номером: не указана
Количество запчастей в комплекте: 50
Название запчасти Zebra на английском языке: Ribbon Core, 2" thermal transfer
Верхняя крышка в сборе для принтера Zebra TLP 2824-Z
Запчасть на сборочном чертеже под номером: 11
Количество запчастей в комплекте: 1
Название запчасти Zebra на английском языке: Upper Cover Assy.
Двигатель в сборе для принтера Zebra TLP 2824-Z
Запчасть на сборочном чертеже под номером: 9
Количество запчастей в комплекте: 2
Название запчасти Zebra на английском языке: Motor, Assy.
Диск с программным обеспечением и документацией для принтера Zebra TLP 2824-Z
Запчасть на сборочном чертеже под номером: не указана
Количество запчастей в комплекте: 1
Название запчасти Zebra на английском языке: CD-ROM, ZPL Desktop Printers Software & Documentation
Диск с сервисной документацией для принтера Zebra TLP 2824-Z
Запчасть на сборочном чертеже под номером: не указана
Количество запчастей в комплекте: 1
Название запчасти Zebra на английском языке: CD-ROM, Service Documentation
Диспенсер для принтера Zebra TLP 2824-Z
Запчасть на сборочном чертеже под номером: не указана
Количество запчастей в комплекте: 1
Название запчасти Zebra на английском языке: Dispenser Option
Защелка для принтера Zebra TLP 2824-Z
Запчасть на сборочном чертеже под номером: 1
Количество запчастей в комплекте: 1
Название запчасти Zebra на английском языке: Latch Assy
Источник питания, 100V-240V (C5) US, EUR шнур (200dpi) для принтера Zebra TLP 2824-Z (Input 100-240Vac, 2A, 50-60Hz, DC Output 20V, 3A, 60W MAX)
Запчасть на сборочном чертеже под номером: не указана
Количество запчастей в комплекте: 1
Название запчасти Zebra на английском языке: Power Supply, 100V-240V (C5) with US, EUR Cords (200dpi)
Кабель питания Euro 220V, IEC320C5 для принтера Zebra TLP 2824-Z
Запчасть на сборочном чертеже под номером: не указана
Количество запчастей в комплекте: 5
Название запчасти Zebra на английском языке: Power Cord, Euro 220V, IEC320C5
Кабель питания U.K. 240V, IEC320C5 для принтера Zebra TLP 2824-Z
Запчасть на сборочном чертеже под номером: не указана
Количество запчастей в комплекте: 5
Название запчасти Zebra на английском языке: Power Cord, U.K. 240V, IEC320C5
Кабель питания U.S. 120V, IEC320C5 для принтера Zebra TLP 2824-Z
Запчасть на сборочном чертеже под номером: не указана
Количество запчастей в комплекте: 5
Название запчасти Zebra на английском языке: Power Cord, U.S. 120V, IEC320C5
Каретка риббона без термоголовки для принтера Zebra TLP 2824-Z
Запчасть на сборочном чертеже под номером: не указана
Количество запчастей в комплекте: 1
Название запчасти Zebra на английском языке: Ribbon Carriage w/o Printhead
Материнская плата (азиат., порты: параллельный и отрезчика) для принтера Zebra TLP 2824-Z
Запчасть на сборочном чертеже под номером: 13
Количество запчастей в комплекте: 1
Название запчасти Zebra на английском языке: Main Control PCBA, Asian Par./Cutter
Материнская плата (азиат., порты: последовательный, USB и отрезчика) для принтера Zebra TLP 2824-Z
Запчасть на сборочном чертеже под номером: 13
Количество запчастей в комплекте: 1
Название запчасти Zebra на английском языке: Main Control PCBA, Asian Ser./USB/Cutter
Материнская плата (азиат., порты: последовательный, отрезчика и Ethernet) для принтера Zebra TLP 2824-Z
Запчасть на сборочном чертеже под номером: 13
Количество запчастей в комплекте: 1
Название запчасти Zebra на английском языке: Main Control PCBA, Asian Ser./Cutter/Ethernet
Материнская плата (параллельный порт) для принтера Zebra TLP 2824-Z
Запчасть на сборочном чертеже под номером: 13
Количество запчастей в комплекте: 1
Название запчасти Zebra на английском языке: Main Control PCBA, std. Par.
Материнская плата (последовательный и Ethernet порты) для принтера Zebra TLP 2824-Z
Запчасть на сборочном чертеже под номером: 13
Количество запчастей в комплекте: 1
Название запчасти Zebra на английском языке: Main Control PCBA, std. Ser./Ethernet
Материнская плата (последовательный и USB порты) для принтера Zebra TLP 2824-Z
Запчасть на сборочном чертеже под номером: 13
Количество запчастей в комплекте: 1
Название запчасти Zebra на английском языке: Main Control PCBA, std. Ser./USB
Нижняя рама (без валика) Zebra TLP 2824-Z
Запчасть на сборочном чертеже под номером: 5
Количество запчастей в комплекте: 1
Название запчасти Zebra на английском языке: Lower Frame Assy. w/o Platen
Ножки резиновые Zebra TLP 2824-Z
Запчасть на сборочном чертеже под номером: 14
Количество запчастей в комплекте: 24
Название запчасти Zebra на английском языке: Rubber Foot Kit
Каталожный номер: 105910-007
Автоотрезчик для принтера Zebra TLP 2824-Z
Запчасть на сборочном чертеже под номером: не указана
Количество запчастей в комплекте: 1
Название запчасти Zebra на английском языке: Cutter Replacement Kit
Передняя панель для принтера Zebra TLP 2824-Z
Запчасть на сборочном чертеже под номером: не указана
Количество запчастей в комплекте: 3
Название запчасти Zebra на английском языке: Front Bezel
Петля крышки для принтера Zebra TLP 2824-Z
Запчасть на сборочном чертеже под номером: 10
Количество запчастей в комплекте: 10
Название запчасти Zebra на английском языке: Cover Hinge
Резиновый вал (резиновый валик, обрезиненный вал) в сборе Zebra TLP 2824-Z
Запчасть на сборочном чертеже под номером: 8
Количество запчастей в комплекте: 1
Название запчасти Zebra на английском языке: Platen Kit, std.
Датчик отключения подачи этикетки Zebra TLP 2824-Z
Запчасть на сборочном чертеже под номером: 2
Количество запчастей в комплекте: 3
Название запчасти Zebra на английском языке: Feed Switch/Sensor Assy
Товаров: 0
На сумму: 0

Компания Zipstore.ru является оптовым и розничным поставщиком запчастей для термопринтеров этикеток начального класса Zebra TLP 2824-Z. Серия TLP 2824-Z представлена компактными принтерами с термотрансферной и термопечатью. Данные методы печати позволяют производить качественные этикетки с текстом, графикой и штрих-кодами. Рекомендуемый объем выпуска – от 1000 до 3000 этикеток в сутки. Конструкционной особенностью серии TLP 2824-Z является быстрый доступ к термоголовке, что позволяет даже неопытному пользователю быстро и легко производить замену расходных материалов. Принтеры имеют программу Create-A-Label для создания дизайна этикеток. Драйверы Windows и современный язык программирования EPL2 обеспечивают быструю интеграцию в любую открытую систему.
В нашем интернет-магазине представлены все ходовые запчасти для термопринтеров этикеток Zebra TLP 2824-Z: термоголовки, датчики, двигатели, материнские платы, ролики и многое другое. Также Вы можете выбрать опции и аксессуары, расширяющие стандартную комплектацию принтера.
В каталоге сайта компании Zipstore представлены оригинальные запчасти и их аналоги для настольных термопринтеров этикеток Zebra TLP 2824-Z. Помимо комплектующих Вы также можете приобрести разнообразные опции, чистящие наборы и аксессуары. Компания-производитель принтеров Zebra Technologies рекомендует использовать для повышения качества печати оригинальные расходные материалы. Найти нужную запчасть в каталоге можно при помощи поиска или по названию. Комплектующие также могу иметь каталожный номер, фотографию, краткое описание или перечень моделей принтеров, с которыми она совместима. Розничные цены на сайте указаны в рублях и долларах с НДС. Чтобы узнать оптовые цены на запчасти к термопринтерам начального класса Zebra TLP 2824-Z, необходимо отправить запрос по электронной почте.
Для оформления заказа вы можете выбрать один из следующих способов:
Мы осуществляем поставку запчастей для принтеров этикеток начального класса Zebra TLP 2824-Z во все города России, а также в Украину, Казахстан, Республику Беларусь и другие страны СНГ. Стоимость доставки из-за небольшого веса большинства комплектующих мало сказывается на конечной цене.
Покупки в нашем магазине осуществляются за наличный и безналичный расчет. Более подробную информацию о заказе, способах доставки и оплате Вы можете найти в разделе «Оплата и доставка». В разделе «%Скидки и акции» представлены наиболее интересные предложения по продаже запчастей, а также сезонные распродажи, акции и скидки.
Информацию технического характера по вопросам эксплуатации, обслуживания и ремонта настольных принтеров этикеток Zebra TLP 2824-Z можно найти в разделе "Инструкции и ПО для термопринтеров Zebra". Проконсультироваться со специалистами и запросить более подробные технические характеристики и сертификаты Вы можете на форуме сайта.